【推荐】中石油股价创历史新低,上市12年市值从万亿美元跌至万亿人民币-中石油基金

频道:期货之家 日期: 浏览:0

8月13日,中国石油(601875)A股股价收报6.14元,盘中最低6.13元,创历史新低。此前的8月6日,该股盘中曾跌破2013年6月25日创出的历史最低价6.23元(复权后),达到6.13元,但收盘报6.16元。该股上市12年来股价跌幅超过8成,总市值从当初的万亿美元下滑至如今的1.1万亿人民币。

中国石油创历史新低,让人想起上证综指6124点时期蓝筹疯狂时代。当时工商银行的市盈率超过50倍大关。中国石油A股正是在此背景下上市,该超级权重股上市首日股价上涨160%多,是A股第一只市值破万亿美元的股票。

2007年11月5日,中国石油A股上市,总股本为1619.22亿股;H股210.99亿股。以上市首日A股盘中最高价48.62元,和H股盘中最高价19.9港元粗略计算,该股当日总市值一度超过8.2万亿人民币,折合11102亿美元。

此后其股价再也没有突破48.62元,中国石油上市首日开盘价即历史最高价,上市12年来只有3年股价上涨,最新市值仅1.12万亿元,蒸发7万亿元,相当于跌掉6个贵州茅台。

数据显示,2007年中石油A股上市首份财报A股股东户数达188万户。随着股价持续下跌,2013年三季报公司A股股东户数首次跌破百万;2018年三季报首次跌破50万。截至今年一季末,中石油A股股东53万户;合计50家机构持仓15874275.67万股,占流通盘98%。

今年5月10日,中国石油集团完成了以中国石油股份换购工银沪深300ETF份额的操作,认购基金对应的股票价格是7.26元,认购4.13亿股,总金额约30亿元。根据工银瑞信沪深300ETF披露的信息,这只基金目前份额为18亿份,资产规模67.49亿元(2019年7月26日数据),其中近30亿元就是中国石油集团用中国石油的股票换购而来的,占比超过四成。

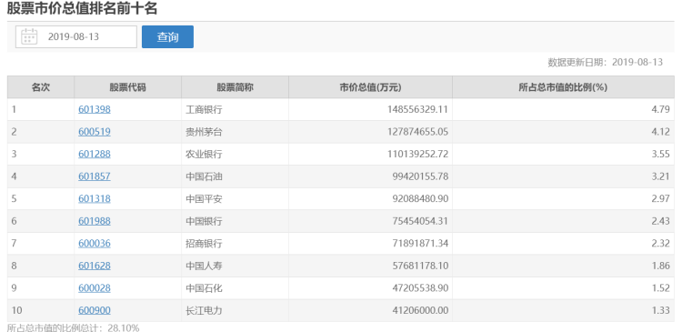
目前中国石油的A股收盘价为6.13元,较7.26元的换购价(类似减持价)下跌了近16%。而与中国石油是沪指第四大权重股,占权重比例3.21%不同,它在最新的沪深300指数里的权重值并不高,仅以约0.42%的权重排名第56位。

因此,一只跟踪沪深300指数的ETF基金,一般会将基金资产当中大约0.42%的资金用于购买和持有中国石油。也就是说,上述基金管理人要通过减持中国石油股票并买入其他的沪深300指数成分股,才能让基金基本吻合沪深300指数的权重构成。这或许是中国石油近期跌幅超过沪深300指数的原因之一。

上海光学影像测量机

影像测量测试仪

光学测量仪器公司

版权声明:本文内容由互联网用户自发贡献,该文观点仅代表作者本人。本站仅提供信息存储空间服务,不拥有所有权,不承担相关法律责任。如发现本站有涉嫌抄袭侵权/违法违规的内容, 请发送邮件至 931614094@qq.com 举报,一经查实,本站将立刻删除。